Autor:KovoPolotovary.sk Dátum:27.7.2023
Rozhodli ste sa pre výrobu samonosnej posuvnej brány? Potom sa najskôr uistite, že pre ňu máte dostatok miesta. Ukážeme vám, ako správne zmerať vjazd a potrebný priestor za ním na otvorenie posuvnej brány.
Než sa pustíme do merania, pozrieme sa na to, ako konštrukcia samonosnej posuvnej brány funguje. Aby ste ju totiž mohli správne zmerať, potrebujete poznať jej hlavné súčasti.
Základom brány je nosný profil, na ktorý je pripevnená konštrukcia brány z profilových jeklov. Vedľa prejazdu sú v betónovom základe umiestnené dva nosné vozíky av nich je ukotvený nosný profil. Tieto nosné vozíky umožňujú pojazd a zaisťujú stabilitu brány.
Pri výpočte celkovej šírky konštrukcie brány tak musíme počítať aj s nosnými vozíkmi a presahom brány mimo prejazdu.

Teraz sa už môžeme pustiť do samotného merania, ktoré má tri kroky.
To je priestor medzi stĺpmi, ktorý ohraničuje vjazd na pozemok. Pri rodinných domoch sa štandardne pohybuje medzi 3–4 metrami, môže byť ale aj dvojnásobne širší.
Ten nájdete v návode k sade na výrobu pojazdu brány. Napríklad pre bránu so šírkou prejazdu 3,6 m je ideálny presah 1,62 m.
Pri každej z našich sád nájdete tento rozmer v prehľadnej tabuľke v galérii produktu.

Súčtom šírky prejazdu a presahu brány získate celkovú šírku konštrukcie brány. Podľa nášho príkladu by bola šírka celej konštrukcie 5,22 metra.
Teraz už viete, koľko priestoru budete na otvorenie brány potrebovať, tak zmerajte, či vám to dispozícia pozemku dovolí. Priestor merajte od hrany prejazdu do strany, na ktorú sa brána bude otvárať.
Ak sa vám na pozemok klasická posuvná brána nezmestí, bude potrebné zvoliť iný typ. Môžete si vybrať:
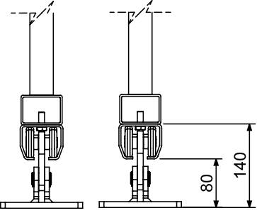
Najčastejšie volíme výšku brány zhodnú s plotom. Od požadovanej výšky brány je ale potrebné odčítať výšku nosných vozíkov a vodiaceho profilu, pre ktoré musí byť medzi zemou a konštrukciou brány dostatok miesta. Tento potrebný priestor sa spravidla pohybuje okolo 15 cm. Presný rozmer nájdete opäť v návode k sade na výrobu pojazdu brány.

Pokiaľ teda chcete, aby brána siahala do výšky 160 cm, odčítajte od nej výšku potrebnú pre nosné vozíky a vodiaci profil. Vyjde vám čistá výška konštrukcie brány.
Všetko potrebné na výrobu samonosnej posuvnej brány nájdete na našom e-shope. Keby ste si s výberom nevedeli rady, stačí sa nám ozvať a radi pomôžeme.
Na čo najlepší zážitok z nakupovania potrebujeme Váš súhlas so spracovaním cookies, teda malých súborov, ktoré sa dočasne ukladajú vo Vašom prehliadači. Tieto súbory umožňujú funkčné vyhľadávanie, uloženie produktov v košíku, pamätajú si vaše prihlásenie a pomáhajú nám priblížiť Vaše záujmy, aby sme Vás neobťažovali nevhodnou reklamou.